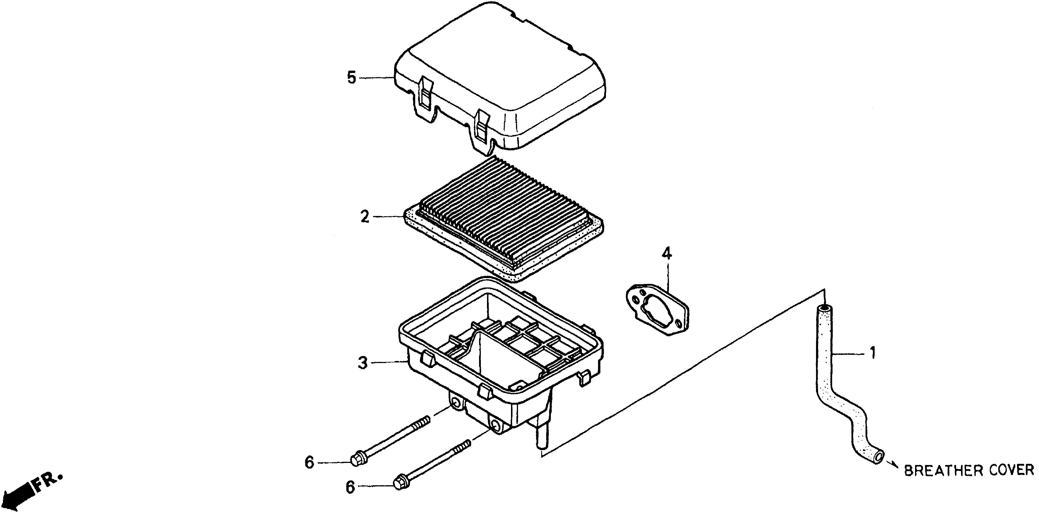
Water Pumps WN WN20 WN20 AX1 WZBV-1000001-9999999 AIR CLEANER - Lakeview Hardware, Inc.

Ref No
Part Number
Description
Serial Range
Qty
Price

Ref No
1
Part Number
15721-ZL9-000
Description
TUBE, BREATHER
Serial Range
1000001 - 9999999

Ref No
2
Part Number
17211-ZL8-003
Description
ELEMENT, AIR CLEANER
Serial Range
1000001 - 9999999

Ref No
2
Part Number
17211-ZL8-023
Description
ELEMENT, AIR CLEANER (TOYO ROKI)
Serial Range
1000001 - 9999999
Qty
Price
$7.92

Ref No
3
Part Number
17220-ZL8-020
Description
HOUSING, AIR CLEANER
Serial Range
1000001 - 9999999
Qty
Price
$20.44

Ref No
4
Part Number
17228-ZL8-000
Description
GASKET, AIR CLEANER
Serial Range
1000001 - 9999999
Qty
Price
$4.14

Ref No
5
Part Number
17231-ZL8-020
Description
COVER, AIR CLEANER
Serial Range
1000001 - 9999999
Qty
Price
$12.91

Ref No
6
Part Number
90003-ZL8-000
Description
BOLT, FLANGE (6X112) (CT200)
Serial Range
1000001 - 9999999
Qty
Price
$4.54