Tillers FG FG500 FG500 A1 FZCY-1000001-9999999 FENDER - Lakeview Hardware, Inc.

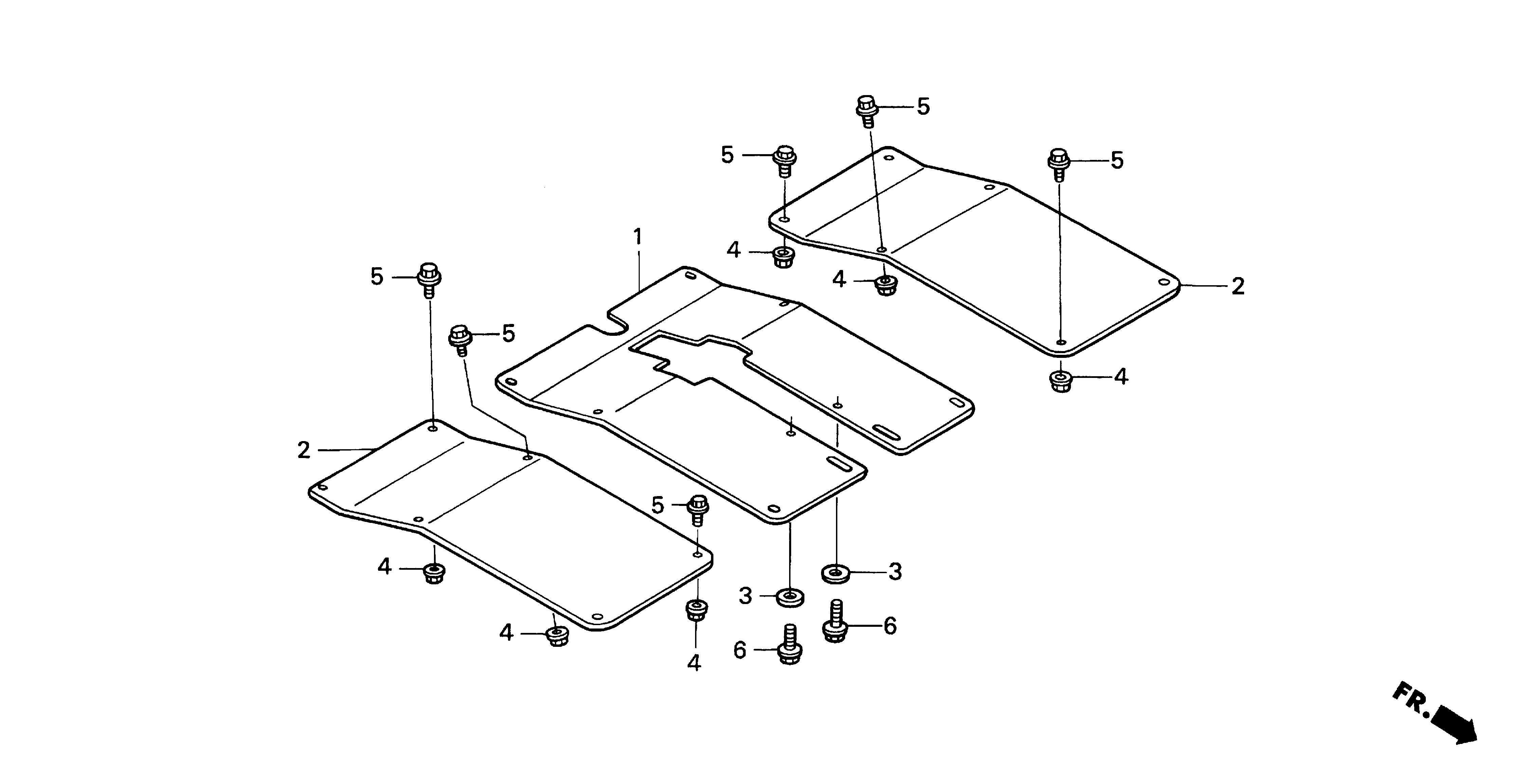
Ref No
Part Number
Description
Serial Range
Qty
Price

Ref No
1
Part Number
65141-V08-000ZC
Description
FENDER, MAIN *R280* (POWER RED)
Serial Range
1000001 - 9999999
Qty
Price
$99.25

Ref No
2
Part Number
65143-V08-000ZC
Description
SUB-FENDER *R280* (POWER RED)
Serial Range
1000001 - 9999999
Qty
Price
$81.56

Ref No
3
Part Number
90534-706-010
Description
WASHER, LOCK (8.5X35X4.5)
Serial Range
1000001 - 9999999
Qty
Price
$9.10

Ref No
4
Part Number
94050-06000
Description
NUT, FLANGE (6MM)
Serial Range
1000001 - 9999999

Ref No
5
Part Number
95701-06010-00
Description
BOLT, FLANGE (6X10)
Serial Range
1000001 - 9999999
Qty
Price
$2.16

Ref No
6
Part Number
95701-08018-00
Description
BOLT, FLANGE (8X18)
Serial Range
1000001 - 9999999
Qty
Price
$3.08